2.2. Biela-Manivela
Importante
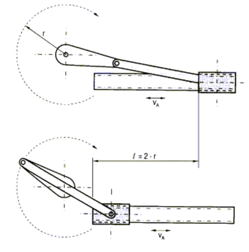
Este mecanismo transforma el movimiento circular en movimiento rectilíneo alternativo.
El sistema está constituido por un elemento giratorio denominado manivela, conectado a una barra rígida llamada biela, de modo que cuando gira la manivela, la biela está forzada a avanzar y retroceder sucesivamente.
![]() |
![]() |
| Imagen 10. Todomonografías. Creative Commons | Imagen 11. Todomonografias. Copyright |
![]() |
| Imagen 12. atikoestudio. Copyright |
Se consigue así un movimiento alternativo de vaivén en la biela. A la longitud de desplazamiento recibe el nombre de carrera, y su valor depende de la longitud de la manivela (radio de giro). Cuando la manivela da una vuelta completa, la biela se desplaza una distancia igual al doble de la longitud de la manivela.
Las posiciones extremas del recorrido se llaman puntos muertos, siendo el punto muerto superior (pms) el que está a mayor distancia del eje de la manivela, y punto muerto inferior (pmi) el que está más próximo.
La distancia entre el pms y el pmi se llama carrera y coincide con el doble de la longitud de la manivela.
Entre sus numerosas aplicaciones destacan sobre todo las utilizadas en el mundo del automóvil. Así por ejemplo el movimiento alternativo producido en los pistones de los cilíndros es transformado en giro por medio de sistemas biela manivela.
Pre-conocimiento
Mira el siguiente vídeo que muestra de forma gráfica el funcionamiento de un sistema biela manivela.


